Популярный




Плоскогубцы для регулировки KNIPEX 32 31 135
Нет в наличии
1320.00грн.
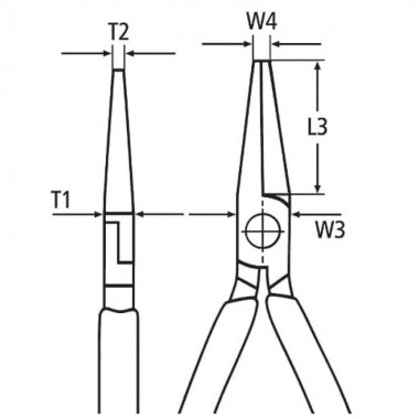
32 31 135 Плоскогубцы для регулировки для захвата мелких деталей и проволоки малых диаметров, а также для изгибания контактных лепестков и контактов реле.
Полированные захватные плоскости.
Кромки тщательно зачищены от заусенцев.
Губки плоские, широкие,наклонены под углом 40°.
- Форма: 3
- : 7,0mm
- : 1,0mm
- Tip Thickness (F): 3,5mm
- : 32,0mm
- Ширина головки (A): 12,5mm
Характеристики






Нет отзывов об этом товаре.